设为首页
|
加入收藏
网站首页
公司简介
产品展示
产品目录
新闻中心
荣誉资质
联系我们
营销网络
电子邮局
产品导航
电动润滑泵
手(脚)动润滑泵
加油泵
双线分配器
单线分配器
换向阀、操纵阀及其附件
稀油润滑装置及稀油站
稀油润滑元件
管件部分
油气润滑元件
LQ系列列管式冷却器(1.0~1.6MPa)
2LQGW型冷却器
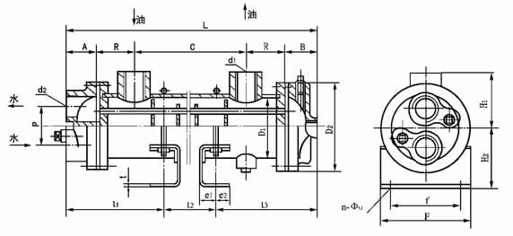
2LQGW型冷却器外形图及尺寸
2LQG2W型(固定管板式)冷却器
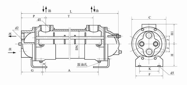
2LQG2W型(固定管板式)冷却器外形图及尺寸
4LQF3W型冷却器
<< 上一页
>> 下一页